B725X-16T黄铜排气阀
主要技术规范
1、 公称压力:1.6MPa
2、 工作介质:水、气
3、 工作温度:80℃≤t≤120℃
4、 管螺纹符合ISO228标准

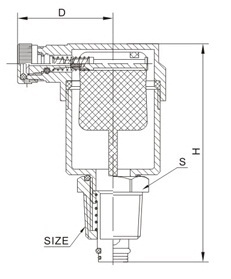
主要外形尺寸
DN
|
SIZE
|
H
|
D
|
S
|
15
|
ZG1/2
|
71
|
28
|
22
|
20
|
ZG3/4
|
76
|
28
|
27
|
25
|
ZG1
|
76
|
28
|
33.5
|
20(A2)
|
ZG3/4
|
67.5
|
28
|
27
|